中南财经政法大学学科评估 中南财经政法大学怎么样
为网友们详解中南财经政法大学怎么样和中南财经政法大学学科评估的知识内容,具体介绍如下:
中南财经政法大学的溯源既红又专,可以追溯到1948年成立的中原大学,初创时的临时校部设于宝丰县大白庄村(现河南省平顶山市宝丰县肖旗乡大白庄村),同年11月迁往开封河南大学校址办学,1949年5月迁往武汉办学。
主要系科、学院成为今天中南财经政法大学、华中师范大学、武汉音乐学院、湖北美术学院、及广州美术学院前身的一部分,而部分办学资源则汇入中央民族学院中南分院(今中南民族大学),为现今武汉地区高校源头之一。

上面这段历史,的确奠定了中南财经政法大学等高校的光辉历史基础。但九六家小编认为,真正奠定她们高校发展史地位的还是院系调整后所获得的独一无二的资源。
以今天我们说到的中南财经政法大学为例,1953年以中原大学财经学院为基础,集国立中山大学、国立湖南大学、国立南昌大学、国立广西大学、私立中华大学、私立南华大学以及上海财经学院国民经济计划专业等一批高等院校财经学科,成立中南财经学院。
这是当时国家按区域以大区命名并重点部署的中国四大财经院校之一(上海财经学院、中南财经学院、四川财经学院、东北财经学院),直属高等教育部领导。

同时,以中原大学政法学院为主体,合并国立中山大学、国立湖南大学、国立广西大学的政治系和法律系,组建中南政法学院,直属司法部领导,是当时中国法学界著名的“五院四系”高校之一。
新成立的中南财经学院和中南政法学院是中南地区唯一的财经、政法类院校,荟萃了并入院校学术造诣较深、教学及实践经验丰富的师资及大量的图书资料。
在之后的二十多年时间,与当时大部分高校一样发生了这样那样的变故,但是师生的归属感已经形成,为1970年代末期复校后的大发展提供了积淀:
2000年组建成新的中南财经政法大学,2005年跨入国家“211工程”重点建设高校行列,2011年进入国家“985工程优势学科创新平台”项目重点建设高校行列,2012年教育部、财政部、湖北省共建中南财经政法大学,2017年、2022年先后两轮入选“双一流”建设高校。
应用经济学未被列为一流学科,让人看不懂这是什么样的一种操作

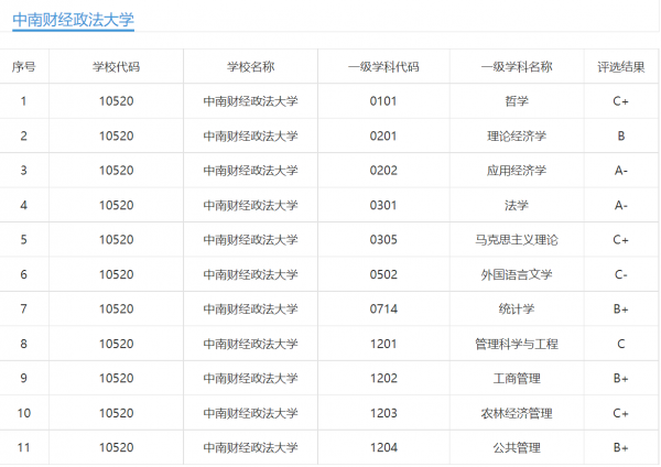
在第四轮学科评估中,中南财经政法大学15个学科参评,应用经济学、法学为A-,统计学、公共管理、工商管理为B+,理论经济学为B,哲学、马克思主义理论、农林经济管理为C+,管理科学与工程为C,外国语文学为C-。
其中,哲学由此前52.63%进入前50%,应用经济学从20.45%进入10%,外国语文学由71.74%进入前70%。
统计学由前29.9%进入前20%,管理科学与工程从前68.63%进入了前60%,公共管理从前30%进入前20%。
应当说,作为一所行业类院校,拥有两个A-学科实属不易。
但有点让人搞不清楚的是,中南财经政法大学重点建设的世界一流学科,居然是法学,而不是同为A-的应用经济学。
要知道,应用经济学与法学尽管都拥有10个二级学科,但是应用经济学的涉及面更广,并且还可以将理论经济学的成果囊括其中,对于高校的学科建设来说是大有裨益。
相关阅读
-
天津高考赋分制21个等级表 新高考等级赋分是什么意思
「常识社」网为大家说一说天津高考赋分制21个等级表方面的经验,如有不对的地方欢迎指正! 新高考改革自从2023年在天津实施以来,最重要的变化就是高考赋分制的实行。 虽说该制度目前已
-
全国最难的卷子是哪个省 全国最难高考卷排名
常识社网网为大家说一说全国最难高考卷排名和全国最难的卷子是哪个省的生活小知识,一起来看看吧! 我国高考“最难”的两个省份,题目难,录取率低,学生叫苦不迭! 我国高考目前还是
-
曼彻斯特大学排名2023 备受青睐的宝藏英国名牌大学
关于曼彻斯特大学排名2023的相关知识,接下来就是全面介绍。 备受青睐的宝藏英国名牌大学——曼彻斯特大学 曼彻斯特大学 The University of Manchester 曼彻斯特大学是一所门类齐全、科系众多的
-
中国科技大学在哪个城市 中国科学技术大学基本情况介绍
为大家介绍的是中国科技大学在哪个城市的相关话题,具体详情如下: 今天给大家带来的是中国科学技术大学! 中国科学技术大学简称中国科大,创建于1958年9月, 坐落于安徽省合肥市 。 中


