江西理工大学排名 聊一聊名气大过实力的江西理工大学(2)

学校的机械设计及理论、矿物加工工程、大地测量学与测量工程、有色金属冶金、环境工程、安全技术与工程、采矿工程、材料加工工程等学科进入江西省十一五重点学科。
从评估结果看,江西理工大学的优势学科是从冶金学院传承下来的冶金和矿业。作为14所院校的冶金工程参评院校之一,理工大排在第10位,实力下滑还是比较明显。
曾经的冶金学院,在建国初期作为国家第一批本科院校为国家的冶金、工业做出了很大的贡献。
15年前的毕业的时候全国钢厂、矿山很多关键岗位都有很多校友。土木、冶金、采矿都是一个校友来整个班级签走的那种。
造价作为国内第一个设置的专业,亚洲造价协会主席、广东造价几乎所有的大佬都是冶院的。当年冶金部的部属院校。学校5000个本科生的规模,在行业内也是响当当的存在。
现在,学校的校名显得高大上,曾经的强势学科却下滑严重,怪不得很多人说,名字大过实力。
3 学校排名
2023年软科大学排名刚刚公布没有多久,从结果看,江西理工大学的排名呈上升趋势,来到第178名,相比较于2023年的253名和2023年的209名,势头还是向好的。

再看校友会排名,2023年江西理工大学是排在第145名。

现在的江西理工大学是一所江西省人民政府、工业和信息化部、教育部共建高校。
学校拥有2个博士后科研流动站、1个博士后科研工作站、2个一级学科博士点(矿业工程、冶金工程),22个一级学科硕士点, 11个专业硕士学位点,5个交叉二级学科点,4个自主设置目录外二级学科。
总结:
江西理工大学虽然更改了一个好听的校名,在招生方面或许有一定的好处,但似乎与之前的冶金特色学校不太相符。
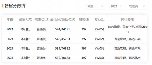
在2023年湖北省的招生中,学校的录取分数线已经达到了544分,位次44121,生源的质量确实提升了。

对于一所学校的提升,究竟是通过更改一个洋气的名字,还是传承学校的传统优势,做好学科建设,我想,这就是仁者见仁智者见智了。
以上就是聊一聊名气大过实力的江西理工大学以及江西理工大学排名的具体内容,供大家参考操作。
相关阅读
-
曼彻斯特大学排名2023 备受青睐的宝藏英国名牌大学
关于曼彻斯特大学排名2023的相关知识,接下来就是全面介绍。 备受青睐的宝藏英国名牌大学——曼彻斯特大学 曼彻斯特大学 The University of Manchester 曼彻斯特大学是一所门类齐全、科系众多的
-
中国科技大学在哪个城市 中国科学技术大学基本情况介绍
为大家介绍的是中国科技大学在哪个城市的相关话题,具体详情如下: 今天给大家带来的是中国科学技术大学! 中国科学技术大学简称中国科大,创建于1958年9月, 坐落于安徽省合肥市 。 中
-
天津高考赋分制21个等级表 新高考等级赋分是什么意思
「常识社」网为大家说一说天津高考赋分制21个等级表方面的经验,如有不对的地方欢迎指正! 新高考改革自从2023年在天津实施以来,最重要的变化就是高考赋分制的实行。 虽说该制度目前已
-
全国最难的卷子是哪个省 全国最难高考卷排名
常识社网网为大家说一说全国最难高考卷排名和全国最难的卷子是哪个省的生活小知识,一起来看看吧! 我国高考“最难”的两个省份,题目难,录取率低,学生叫苦不迭! 我国高考目前还是


