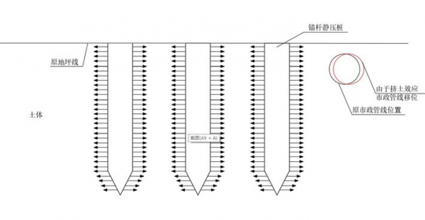
解决地面沉降的方法 地基下沉的防治与处理措施(2)
导读:解决地面沉降的方法,(3)工艺 流程较为复杂 复杂冗长的施工流程和工艺,要求每一个环节都要做好质量把控,一旦其中一环出现问题,必然会影响后续环节的质量控制。
相关阅读
-
会变色的动物有哪些 会变色的丽棘蜥是一种什么动物
小编为你讲解会变色的丽棘蜥是一种什么动物和会变色的动物有哪些的介绍,接下来常识社网小编就来介绍。 丽棘蜥,俗称:七步跳。为鬣蜥科棘蜥属的一种蜥蜴。主要生活在海拔400-1200米山
-
航母数量排行榜全世界 世界上航母最多的国家是哪个
如果想了解航母数量排行榜全世界的话题,具体详情如下: 千呼万唤始出来的福建号航母终于举行了下水仪式,也对应的刷新了全球航母排行,中国航母排名正式跃升至世界第二位,排名算是
-
世界上什么海最大 世界上面积最大的海洋排行榜前十名
你是不是想知道世界上面积最大的海洋排行榜前十名和世界上什么海最大方面的介绍,接下来一起来看看吧。 10 鄂霍次克海 Sea of Okhotsk 鄂霍次克海(Sea of Okhotsk)位于西北太平洋,堪察加半岛
-
玉溪有几个县几个区 云南省玉溪市下辖行政区划分介绍
今天为大家介绍云南省玉溪市下辖行政区划分介绍和玉溪有几个县几个区的知识内容,一起来了解了解吧。 玉溪市,云南省辖地级市,位于云南省中部。 玉溪市北接省会昆明市,西南连普洱市





